2023年度教育数字化转型优秀案例——洛阳理工学院

发布者:发布时间:2023-12-23浏览次数:1133

2023年度教育数字化转型优秀案例——洛阳理工学院

来源:河南省教育信息化协会


数智赋能高校治理新模式的应用实践与探索



一、工作背景

(一)项目实施背景

数字化时代背景下,高等学校治理能力的数字化转型是必然趋势,提升高校数字化治理能力,也是深化教育体制改革,创新人才培养模式的必然要求。根据《教育信息化2.0行动计划》、河南省教育厅《河南省教育信息化“十四五”发展规划》等文件要求,洛阳理工学院深刻认识到数字化转型带来的机遇与挑战。近年来,通过场景化数据治理,整合全校公共资源建设统一资源预约平台,开发敏捷响应的“洛理码上办”,挖掘学生在校行为数据等途径,不断推动信息化治理模式和治理体系变革,积极探索数智赋能高校管理的数字化转型新模式。

(二)拟解决的关键问题

1.数据资产利用率低

数据管理体系缺失,致使数据沉睡。虽然使用ETL技术汇聚数据到共享库的建设模式为“数据孤岛”之间搭建起一条数据流通的通道并集聚了部分数据,但数据难以被业务人员有效使用,大部分处于沉睡状态。

2.数据质量存在问题

由于建设模式和厂商壁垒,导致数据混杂,一致性差。数据统一抽取到数据仓库后发现仍存在缺少关键信息,难以直接利用。

3.师生诉求得不到有效反馈

学校管理和教学活动中存在信息不对称,管理服务部门不能有效收集师生在校期间的意见和建议。容易出现一些普通事件如校园生活中的维修、故障等问题,没有及时反馈处理而造成较大的负面舆情和影响。

4.公共资源不均衡

全校教室、会议室、各类场馆、实验室、大型科研仪器分布不均衡,同时也存在部分资源申请预约流程复杂、分配不均、导航混乱等问题,师生满意度不高。

5.管理决策数据支撑度不高

学校教学管理者大多是采用传统的决策方式,缺少大数据分析等支撑,校务管理亟需从经验驱动到数据驱动的变革。

二、工作举措

学校党委对信息化工作高度重视,成立数据治理领导小组制定数据治理的相关制度和实施方案等,坚持共享理念,让数据可管,让数据可得;坚持开放理念,运营数据让数据可见;坚持绿色理念,智填数据让数据复用;坚持创新理念,应用数据让数据赋能;坚持集中共享建设模式,让应用便捷好用。分别在场景化数据治理、公共资源集中共享、师生满意度提升、业务智慧决策四大方面促进信息化治理能力提升。

1 场景化数据治理应用模式

(一)聚焦场景化数据治理—打造实用教师数据中心

1.全面梳理教师全生命周期数据,形成教师个人画像

梳理清洗中心数据库已有的数据,全面展示与教师相关的各类信息,如基本信息、学习工作经历、教学信息、科研成果、个人资产、工资信息、消费信息等。对缺失的大量重要属性数据,采用人工补录和爬虫爬取来处理。

2 教师个人画像

2.杜绝重复填报,实现数据填报一站式

坚持绿色理念,践行节约、复用、便捷的原则,管理和设计师生填报任务,为数据填报提供一站式信息支持服务。将数据仓库中的师生数据按照教学、科研、人事等主题分类形成师生个人数据中心,在此基础上坚持“基础信息数据自动获取、业绩数据随时录入且经过审核后多次复用、主观内容自主填报”的原则,创建填报表单,尽量确保师生同一份数据最多填一次。

3.坚持以用促治,数据应用赋能多场景业务

坚持数据应用以强业务驱动为导向,信息化技术中心与业务部门通力合作,在应用中发现数据问题、找出业务短板、推动业务重构。教师个人数据应用与专业技术人员年度考核结合,将教职工教学课时、科研成果、获奖情况等数据按考核要求汇聚融合,形成专业技术人员年度考核数据报表,有效利用已有数据,减轻教师工作负担,提升教师的获得感和满意度。

3 教师数据统计

(二)倾听师生诉求—建设敏捷响应的“洛理码上办”

1.理顺诉求反馈机制,优化反馈流程

学校成立专项工作组,党政办为业务牵头及督导部门,党委宣传部、学生工作部为业务推广部门,信息化技术中心为技术支撑保障部门,其他业务部门为反馈落实单位,全面梳理服务师生的各项业务,确定问题分类和反馈流程。疫情期间共梳理出16个大类、38项服务的投诉(建议、表扬)等事项。4 优化后的反馈流程

2.注重使用体验,整合服务入口

将该平台与我校现有身份认证平台进行对接,集成在网上办事大厅和“智慧洛理”企业微信中,师生在反馈问题时只需填写反馈标题及内容,或上传照片就可完成意见反馈,平台会自动分配并通知服务单位及受理老师在手机上进行回复,所有反馈和回复流程完全符合用户使用习惯,达到无障碍使用。

3.强化问题反馈时效,定期督导检查

采用精细化管理理念,将反馈回复信息配置落实到各部门的责任人。对未回复条目实行时间设定,超时未回复的问题则自动转交上一层领导进行回复,并发送消息实时提醒。党政办公室利用数据看板功能,定期发布数据分析统计,定期督导意见反馈情况,并将排名纳入各部门年终考核。

(三)优化资源共建共享—构建统一资源预约平台

1.摸清需求,充分利用现有资源

信息化技术中心和应用部门联合成立项目开发组,充分了解现有实验室、运动场等公共资源的开放管理规定、预约流程,确定了“充分利旧、弹性流程、权限隔离”的建设思路,将现有的图书资源预约系统纳入统一管理,用户统一入口申请,简化操作流程,节约开发成本。

5 预约资源场景

2.分层管理,建设弹性管理机制

为适应全校公共资源(场所)的多样化的管理模式,在平台的用户管理中设计了三级管理用户,管理员用户设定部门资源管理员,资源管理员设定部门审核管理员,用户权限设计按照“谁发布、谁维护、谁审核”的原则。因此最大限度的解决了管理模式和服务模式之间的差异,实现了集中建设、处处共享的原则。

3.强化培训,注重应用推广

建立专门的技术支持团队和用户服务组,保障系统正常运行和用户顺畅使用。信息化技术中心负责保障软件系统的安全运行,并开展多样化的使用培训,确保各部门做到资源按需更新,申请及时批复。同时学生服务团队在学生社团和群体中广泛宣传推广使用公共资源预约平台。

(四)赋能学生服务与管理—挖掘学生在校行为数据

1.挖掘数据,服务日常管理

深度挖掘全景支付一校通平台、超星学习通平台的学生基本信息、学习记录、消费记录、图书借阅记录以及运动记录等,建立学生在校行为大数据分析平台,运用数据仓库技术、数据预处理技术、数据挖掘技术从多个维度对学生的校园行为进行分析,构建贫困生预测模型,推荐贫困申请者的贫困等级,从而让学生管理人员能更全面、更精准地服务不同学生群体。

2.聚合规则,赋能安全预警

利用学生行为数据仓库设计学生行为的聚类指标体系。利用聚类算法对学生的行为数据进行聚类挖掘,发现学生群体中的异常行为,推送预警信息,同时将学生各类行为数据的挖掘结果生成学生画像,从而帮助学生管理工作者全面了解学生的生活状态,为我校管理人员制定相关政策提供决策参考。

6 学生行为分析模型

三、工作成效

(一)实际应用效果

1.减少重复填报,提升信息化支撑和引领能力

在学校各职能部门的大力支持下,场景化数据治理汇聚整合了教学、科研和管理数据,持续推动了数据开放共享,为教师教育教学提供了数据支持。

7 教师个人数据中心数据结构

教师数据中心已从中心数据库抽取人事、财务、教务、科研、资产、图书、一卡通等20多个业务系统数据,为10个部门18个系统提供数据共享服务,对接数据总量89万多条,共享数据57万多条。利用现有数据发布轻量化数据填报任务63次,减少教师数据填报字段26项,增加教师的获得感和幸福感。

2.挖掘数据潜在价值,精准服务学生管理

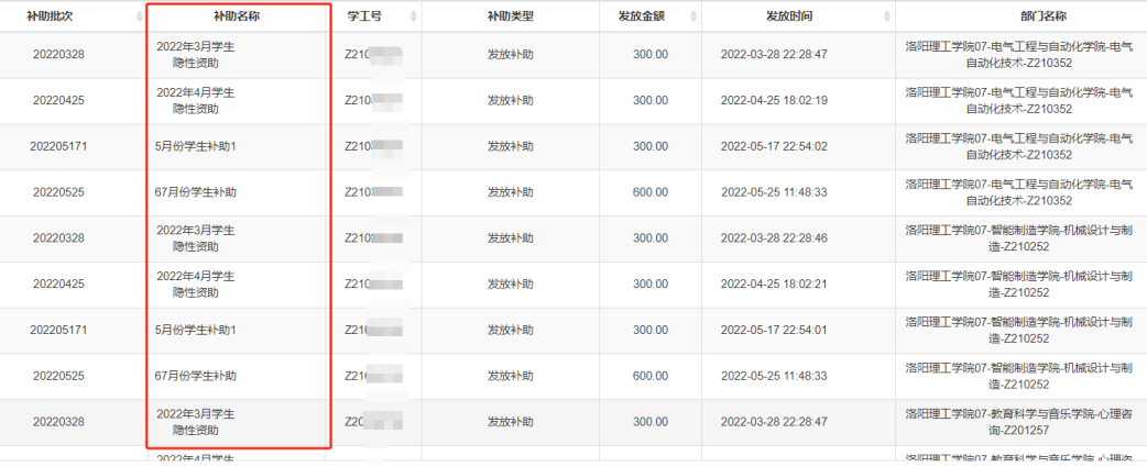
通过挖掘一校通平台的学生行为轨迹,建设基于一校通数据的学生行为分析和预警平台。平台具有学习仪表盘、图书馆预约、疑似失联学生预警等功能,为每位学生提供个性化建议和支持。建成以来,在疫情防控中精准定位疫情传播点2195个,在学生困难补助发放中精准投放补助436条。同时平台提供丰富的展现及交互能力,实现“用图形让数据说话”,以学生信息仪表板的形式,将学生的总体和个体信息汇总展示,将学术成绩、课程进度、参与活动、一卡通使用情况图形化展示,方便管理人员理解和使用数据,充分体现数据作为生产要素的价值。

8 实现补助精准发放

9 失联预警平台

3.杜绝重复建设,实现公共资源灵活管理

建成的综合公共资源预约平台集成在 “智慧洛理”企业微信内,实现校内大型仪器、实验室、图书馆、会议室、智慧教室、教师学术空间等51个公共资源的统一线上管理,实现用户在手机端对公共资源的申请、确认、缴费等功能。建成以来发布各类资源预约流程74次,服务师生预约519次。

10 公共资源预约系统使用情况

(二)用户体验

1.应用和服务便捷性体验大幅提升

针对师生移动应用的使用习惯和发展趋势,将教师个人数据中心、公共资源预约、洛理码上办等服务管理类应用整合在“智慧洛理”企业微信,师生实现一次关注即可直达校内各类业务信息系统,可实现多个业务系统无缝切换。实现了“校务服务随时随地、校务应用触手可及”的理念。目前已有41680人师生关注“智慧洛理”,年平均访问量1500余万次。

11 “智慧洛理”企业微信应用情况

2.数据填报效率大幅提升

教师个人数据中心通过零代码工具设置线上表格,将师生常用数据字段形成文本、下拉框、附件等固化组件,允许业务人员通过拖拽组件、配置流程快速生成一张数据填写或确认单,采用扫码、主动推送等便捷形式将填报任务下达到用户,大幅度减轻数据统计和催报的工作量,从技术上大幅提升填报工作效率。

12 各类数据填报情况

3.师生满意度较高,负面影响急剧下降

 “洛理码上办”自20221124日正式上线以来,各院部逐级下发操作流程、功能介绍,同时学校官方渠道加强线上宣传,不到一个月的时间,学生的咨询、投诉、建议、表扬等各类反馈问题达到1276条。其中咨询和建议占83%左右,在这些咨询投诉中,相关受理老师积极给予回复,及时解决了学生们迫切所需的问题,获得学生肯定。据不完全统计,系统上线两个月后,超话微博等相关问题的投诉大量减少,消除了一些负面影响。

13 师生反馈统计(三)规模效益

虽然项目不产生直接的经济效益,但可以为广大师生的校园生活、学习、工作提供极大的便利,不断提升师生学习生活的幸福感。仅2023年,省内外30余所高校信息化同行前来交流学习,《光明日报》《河南日报》、河南教育宣传网等媒体报道我校CIO以此为核心内容的经验交流发言,具有很高的社会影响效益。同时长期的使用和积累,可以为学校提升管理服务水平提供精准的数据支撑,有助于全面提升学校信息化治理和服务水平。

四、工作经验(一)具体经验1.加强组织领导,理顺工作机制

信息化工作要在CIO的统一领导下,按照各级角色岗位与权责分配机构职能,理顺工作机制,校党委、校网信领导小组,统筹整体管理,提出总体建设目标。校网信办公室、信息化技术中心制定技术标准,架设平台环境,清洗集成数据,校审数据质量,保障安全等。其他二级单位落实信息化建设,提供业务数据,执行业务流程等。各个部门有机协同,确保各项规章制度、管理办法、工作流程等有序实施。

2.业务驱动,持续迭代建设

信息化建设模式要以刚需业务为驱动,聚焦用户需求,解决实际问题。在应用过程中还要不断吸收用户反馈意见,不断开发迭代新功能、满足新需求,与产品供应商共同构建信息化融合生态,用不断累积的数据和新的需求助力学校智慧教育可持续发展。

3.用户为先,注重使用体验

突出“以用户为中心”的理念,充分考虑不同类别人群的需求,符合移动互联网发展潮流,强化用户体验,提高系统和软件的可用性和易用性。广泛征求师生意见,激发师生参与热情,凝聚“信息化建设为了师生、依靠师生,建设成果服务师生共享”的共识。

(二)不足与改进1.进一步提高应用的智能化水平

面对人工智能的应用新浪潮,未来要将意见反馈平台与大模型对接,做到24小时在线服务,同时将维修维护类诉求直接对接相关的运维平台,实现从用户反馈到下发工单的一体化智能服务,全面提升用户的使用体验。

2.进一步优化数据挖掘与分析方法

随着智慧校园建设的不断深入,将会产生更多维度的数据和更复杂的分析需求。下一步将更先进的机器学习算法应用于数据分析与挖掘,提升数智赋能学校管理的效能,提高信息化治理体系和治理能力的现代化水平。

3.进一步加强数据分类、分级治理

针对当前的网络安全态势,需进一步加强数据安全防护。加强数据分类分级,根据现有数据分级的结果,明确不同等级的处理策略。在数据的使用全过程中,制定不同的数据访问权限或管理审批流程,对重要数据进行加密,保证其储存安全和传输安全,为数智服务校务管理提供安全有效的数据环境。



上一篇:下一篇: